项目

一般

简介

Bug #16921

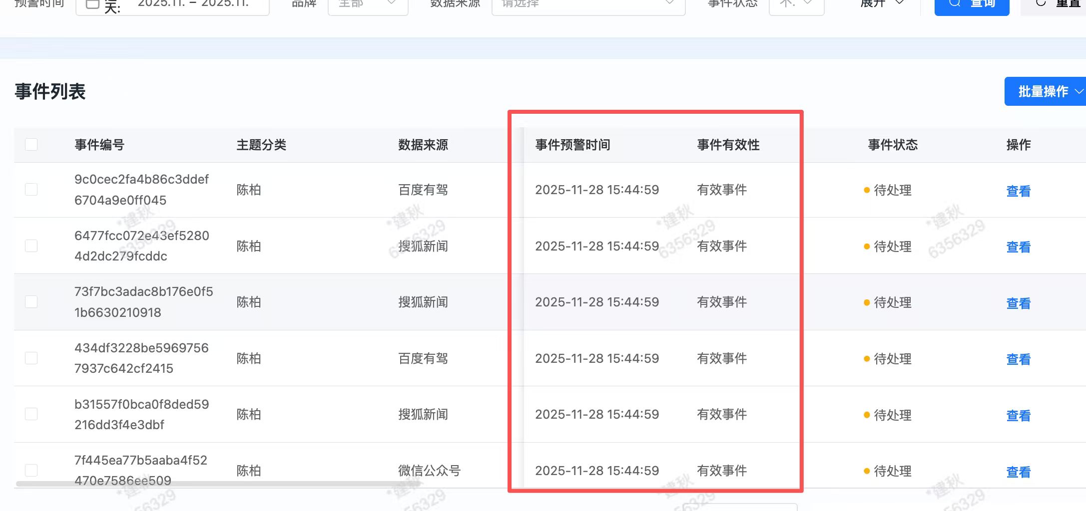
单点事件-预警时间有效性不需要固定,放到最后

王集福2 个月 之前添加. 更新于 大约 2 个月 之前.

状态:
已完成
优先级:
普通
指派给:
开始日期:
2025-11-29
计划完成日期:
% 完成:

0%

预期时间:
等级:
简单
变更任务:
版本:

描述

f286f1bf05e8dc3e155b3d707c54e4bd.jpg


相关的问题

复制到 2025年长安汽车客户之声VOC聆听2.0系统建设项目 - Bug #16922: 单点事件-事件编号不要md5,CA0120251130000001 CA+单点+日期+6位数字已完成2025-11-29

Actions

历史记录

#1

王集福 更新于 2 个月 之前

  • 复制到 Bug #16922: 单点事件-事件编号不要md5,CA0120251130000001 CA+单点+日期+6位数字 已添加
#2

李路 更新于 2 个月 之前

  • 状态待处理 变更为 待验证
  • 指派给李路 变更为 陈柏
#3

王集福 更新于 大约 2 个月 之前

  • 状态待验证 变更为 已完成

导出 Atom PDF